티스토리 뷰
목차
소상공인 대표자의 제2의 퇴직연금 = 노란우산공제
노란우산공제을 가입해야 하는 가장 중요한 이유는 소상공인 대표자의 퇴직연금 역할하기 때문입니다. 대표자의 경우 근로자처럼 퇴직연금 가입이 강제되지 않으므로 자신의 퇴직연금 관리를 소홀히 하는 경우가 많습니다.
사업 폐업한 후 생활자금 또는 사업재기 자금을 확보하기 위해 노란우산공제는 선택이 아닌 필수입니다. 그리고 희망지원금 최대 48만 원까지 지원하고 있으니 아래 설명과 링크를 통해 자세한 내용 확인할 수 있습니다.
1. 노란우산공제란?
중소기업협동조합법에 의거 만들어진 제도로 소기업자와 소상공인이 폐업, 사망 또는 노령화 등의 공제사유가 발생하면 사업재기 지원과 생활안정을 도모하기 위한 공제제도입니다.
2. 노란우산공제 가입조건
① 가입대상: 업종별 기준 매출액 이하 개인사업주 및 법인 대표자
② 매출액 기준: 3개년 평균 매출액


③ 가입기간: 만기가 없으며, 공제금 지급사유 (폐업, 노령, 사망, 대표이사 변경 등) 발생일자가 만기입니다.
④ 월부금액: 월 최소 5만 원 ~최대 100만 원(분기 300만 원까지 가능)
3. 가입방법
①인터넷 가입: 공인인증서를 통한 로그인 후 간편하게 가입할 수 있습니다.
② 은행지점 방문 / 은행 모바일 : 가까운 은행지점 혹은 은행 모바일 앱에서도 가입 가능합니다.
4. 노란우산공제 혜택 4가지
① 공제금 대한 수급권을 보호
공제금은 법에 의해 압류, 양도, 담보제공이 금지되어 있어 안전하게 생활자금으로 활용할 수 있습니다.
② 연간 최대 500만원 소득공제 가능
기존 소득공제상품과 별도로 최대 연 500만원까지 추가로 소득공제 가능합니다.
③ 부금 내 대출을 통한 자금활용 가능
공제부금을 납부하고 연체하지 않는 자는 임의해약환급금의 90% 이내에서 대출기간 1년(연장가능), 대출 금리 3.9%의 조건으로 대출 이용 가능합니다.
④무료 상해보험 가입
상해로 인해 사망 또는 후유장애 발생 시 2년간 최고 월부금액의 150배까지 보험금이 지급되며 보험료는 중소기업중앙회가 부담합니다.
5. 희망장려금이란?
소상공인의 생활안정 및 사회 안전망 확충을 위해 중소기업중앙회와 협약을 맺은 지자체에서 노란우산 가입자에게 장려금을 지원하는 제도입니다.
① 지원대상
자자체 소재 연매출액 등 소정의 요건을 갖춘 소상공인(신규가입자)
*소상공인 요건(상시종업원수): 10명 미만(광업, 제조업, 건설업, 운수업)/5명 미만(그 밖의 업종)
② 지원방법
매월 공제부금 납입 시 마다 지자체별 지원금액을 적립하여 공제금 수령 시 장려금과 부리 된 연복리 이자를 지급합니다. 단, 임의 해지 시 장려금이 지급되지 않을 수도 있습니다.
③ 지원기간
노란우산공제 가입일로부터 1년간 (최대12회) 지원됩니다.
④ 신청방법
가입 청약 시 신청하거나, 가입일로부터 30일 이내에 신청서 및 매출액 증빙서류* 등을 제출합니다.
-인터넷 신청: 온라인으로 간편하게 노란우산 가입 및 장려금 신청이 가능합니다.
- 은행창구: 금융기관 창구에서도 지원금 신청이 가능합니다.
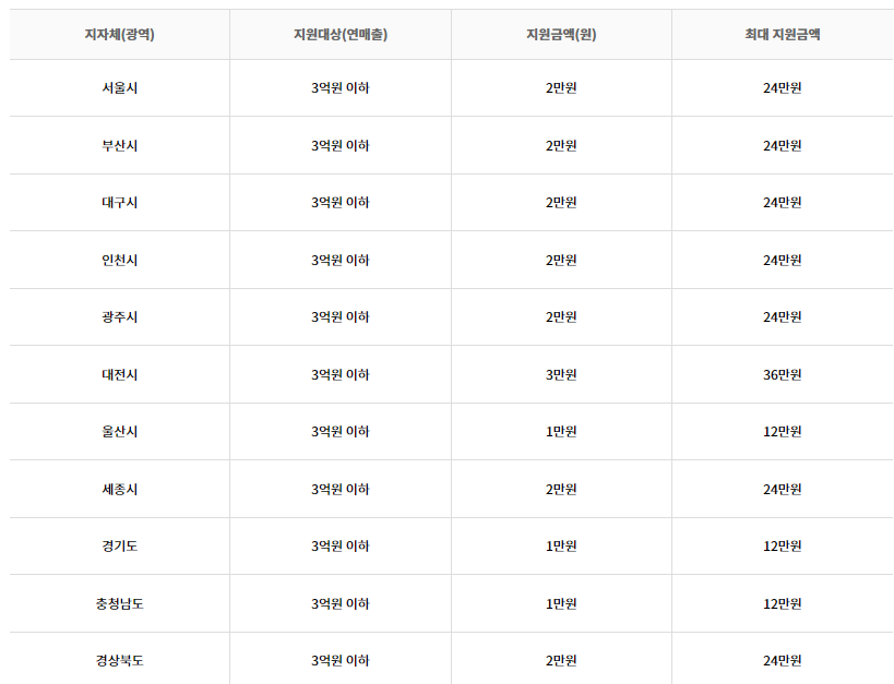
⑤ 지자체별 장려금 지원조건



